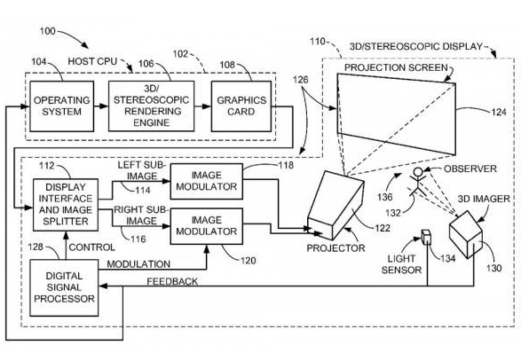
早有消息称,一直走在技术尖端的苹果公司近年来会给我们带来3D全息投影技术的设备。而最近苹果公司获得了一个新的专利,而该专利其实是一个三维现实,也就是3D显示投影系统,这个系统将会模拟一个全息图,而且我们不需要特殊的设备就能感受到这全息图。

这项专利的专利号为20118118,这项专利将会带来更高端的摄像头和传感器。这些摄像头像眼睛一样能够感受3D,并且把图像传递给我们。

当然,如今的3D 全息投影游戏或者电视还没有成为商家眼中的“热门”项目,主要原因是技术不够成熟。不过苹果对其产生了兴趣,因为近年来的手机同质化太严重,很难创新,苹果作为一家创新型科技公司,一直在寻找创新的突破口,相信等苹果准备充分后,我们也能在手机设备上体验全息3D投影的魅力了。

另外,这项功能并不是像拍照一样一动不动,而是需要我们不断移动,这样与VR 设备或者AR 设备相结合,将会使得3D 全息投影技术更相得益彰。
不过拿下专利并不代表会采用,我们也只能期待苹果在将来的某一天推出全息3D投影设备了
